服务热线

13023169219
网站导航
主营产品:

口腔灯阴影测试工装‌

产品时间:2026-04-09 17:40

简要描述:

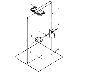
口腔灯阴影测试工装 执行标准: YY/T 1120-2021中7.3.8 技术参数; 圆盘直径: 20mm (厚:1mm) 距离测量屏:50mm 测量屏:带直角坐标系 光源距屏:700mm 工装包含柱、调节用滑动环、测试屏、...

详细介绍

口腔灯阴影测试工装‌

 

执行标准:

YY/T 1120-2021中7.3.8

 

技术参数;

圆盘直径:φ 20mm (厚:1mm)

距离测量屏:50mm                                               

测量屏:带直角坐标系                    

光源距屏:700mm     

工装包含柱、调节用滑动环、测试屏、杆

image.png 

配置清单

工装一套,

合格证一份,

铭牌一份。

 

 


产品咨询

留言框

  • 产品:

  • 留言内容:

  • 您的单位:

  • 您的姓名:

  • 联系电话:

  • 常用邮箱:

  • 详细地址:

推荐产品

Copyright © 2002-2020 山东赛锐特检测仪器有限公司 版权所有  备案号:鲁ICP备2020039165号

鲁公网安备 37170202666382号

地址:山东省菏泽市牡丹区南城街道太原路永泰大厦14018室 电话:13023169219 邮箱:2442648961@qq.com

关注我们

爱番番

服务热线

13023169219

扫一扫,关注我们