服务热线

13023169219
网站导航
主营产品:
技术文章
当前位置:山东赛锐特检测仪器有限公司 > 技术文章 >

牙间刷主干耐疲劳测试仪 文章

时间:2025-09-24 13:53 点击次数:
 

牙间刷主干耐疲劳测试仪

 

概述:

牙间刷主干耐疲劳测试仪用于手动牙间刷主干疲劳测试。

 

执行标准:

GB/T 36992-2019《手动牙间刷》6.5.2 主干耐疲劳度测试

BS EN IS0 16409:2006+A1:2010

技术参数:

控制系统:PLC;

操作界面:彩色7寸触摸屏,中英文切换;

实验砝码:500士0.5g

实验速度:(30士3)次/min

摆动角度:左右(45士3)°

折曲次数:1~9999次(可设定)


基本配置:
 主机一台,扳手一套,电源线一根,说明书/保修卡/合格证/铭牌一套

 

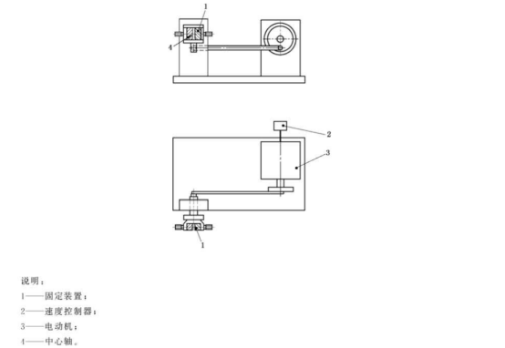
设备结构原理:

image.png

Copyright © 2002-2020 山东赛锐特检测仪器有限公司 版权所有  备案号:鲁ICP备2020039165号

鲁公网安备 37170202666382号

地址:山东省菏泽市牡丹区南城街道太原路永泰大厦14018室 电话:13023169219 邮箱:2442648961@qq.com

关注我们

爱番番

服务热线

13023169219

扫一扫,关注我们