服务热线

13023169219
网站导航
主营产品:
技术文章
当前位置:山东赛锐特检测仪器有限公司 > 技术文章 >

口腔灯阴影测试工装‌ 文章

时间:2026-04-09 17:41 点击次数:
 

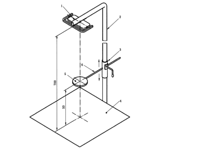
口腔灯阴影测试工装‌

 

执行标准:

YY/T 1120-2021中7.3.8

 

技术参数;

圆盘直径:φ 20mm (厚:1mm)

距离测量屏:50mm                                               

测量屏:带直角坐标系                    

光源距屏:700mm     

工装包含柱、调节用滑动环、测试屏、杆

image.png 

配置清单

工装一套,

合格证一份,

铭牌一份。

 

上一篇:牙科治疗机压力损失测试仪 文章

下一篇:没有了

Copyright © 2002-2020 山东赛锐特检测仪器有限公司 版权所有  备案号:鲁ICP备2020039165号

鲁公网安备 37170202666382号

地址:山东省菏泽市牡丹区南城街道太原路永泰大厦14018室 电话:13023169219 邮箱:2442648961@qq.com

关注我们

爱番番

服务热线

13023169219

扫一扫,关注我们